>
The Steatham logo
Menu Home

    Home

    About Us

    Introduction

    Steatham Research

             Cemeteries

        >  St Lawrence  

        >  St Lawrence, Cock St  

        >  Wes. Meth. Pinfold St  

        >  James Bridge  

        >  Charlton  

        >  Nottingham Road

    News

    Future Events

    Steatham Visits

    Eliz's Grave Appeal

    FAQ

    Contact

    Site Map

    Links

Page last updated

Valid HTML 4.01 Transitional Valid CSS!







1 James Bridge - Keepers Lodge.

Copyright 2010 - Nigel James Wright.


Steatham Research - Cemeteries


James Bridge Cemetery, Darlaston, Walsall.

Robert Steatham and his six children, who predeased him, were all buried at St Lawrence, when St Lawrence, Cock Street, Darlaston opened in 1830 this became the overflow so to speak for St Lawrence. It's still St Lawrence but over the road so to speak.

Now the Municipal Public Cemetery was opened in 1860, extended in 1887, at a cost of £2000.

This has a strong Steatham connection in that Moses Steatham (1841-1896), was the Cemetery keeper (Sexton), and numerous Steatham's are buried there, including Robert Steatham (1862-1928), the first Steatham to be named Robert, after Robert Steatham.

Also we have the grave of George Steatham (1885-1818).

If we want to 'touch' the Steatham Story the best way is visiting the places they are buried.

The atmosphere at this Cemetery fully evokes the industrial heritage of the area and the Steatham family.

Moses Steatham (1841-1896) was the Cemetery keeper, living in the Keeper's Lodge, which is still standing, until his death. He buried his own father, Moses Steatham who was of course one of Robert Steatham's surviving sons, and in the burial record for his father Moses Steatham (1813-1891), he movingly wrote "Moses Steatham Snr".

Moses Steatham's (1841-1896) gravestone, for himself, his Wife Elizabeth [Nee Butler], and their daughter Elizabeth Smith [Nee Steatham], is large and in very good state of repair, it is easily the most impressive Steatham gravestone.

Elizabeth Steatham and her sister Sarah, who were both daughters of Robert Steatham's, surviving son, Thomas Steatham, also have an impressive gravestone, which has evidence of modern restoration.

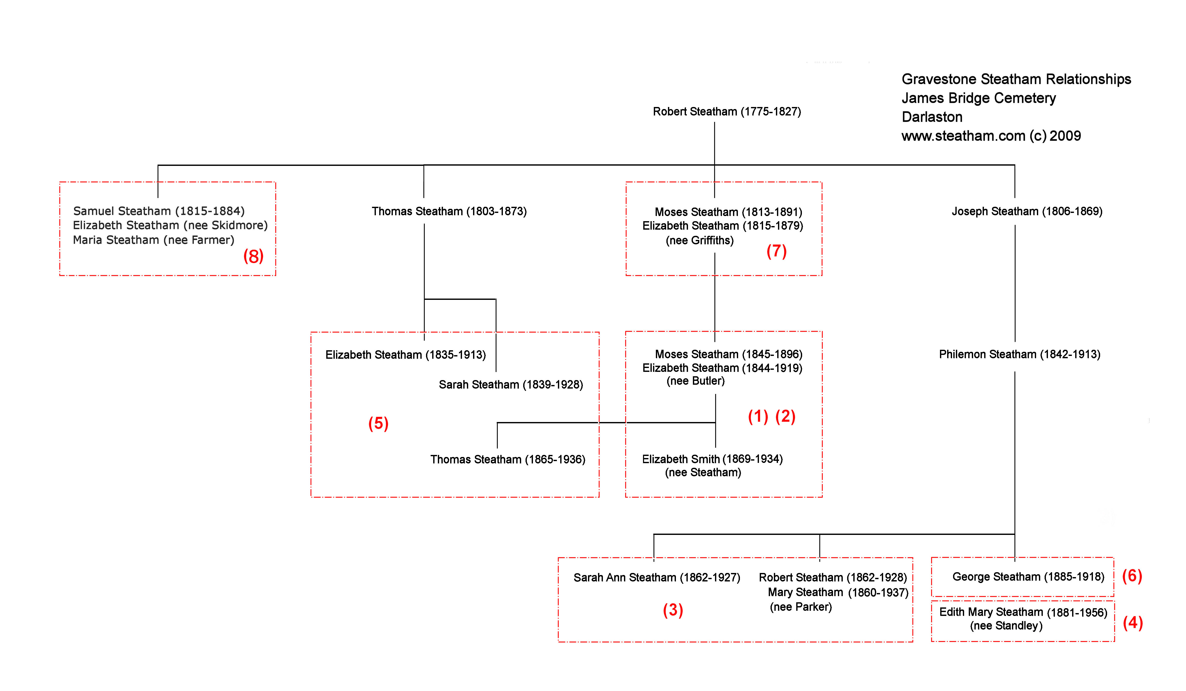
I have created two documents to help explain who the graves are for, where they are, and what the relationship is between everyone, as I know it can be a little unclear when we have numerous Moses, father and son, and Elizabeth’s in the tree.

The first is the Plan of the Cemetery mentioned below:- Marked (in red) on the plan of the Cemetery are the significant Steatham areas as listed below:-

#1) Keepers Lodge - Moses Steatham's, both father and son, lived here.

To see its location in What3Words Click Here - Switch to Satellite view.

#2) Moses Steatham's grave (1841-1896)(M12).

#3) Robert Steatham's grave (1862-1928)(N2 419).

#4) Edith Mary Steatham's grave (1881-1956)(N108). (nee Standley) (no monument standing).

#5) Elizabeth Steatham's grave (1835-1913)(L207).

#6) George Steatham's grave (1885-1918)(F201).

#7) Moses Steatham's grave (1813-1891)(E362). (no monument standing).

#8) Samuel Steatham's grave (1815-1884)(L154). (no monument standing).



The next document I have created is a Gravestone Steatham Relationship (GSR) for James Bridge, which explains the relationship of all Steathams in the graves mentioned.

Hopefully this will make it all clear.

There are some modern Steatham graves in the Cemetery, but I have omitted them for privacy reasons.

The postal address is:-

James Bridge Cemetery
Cemetery Lodge
Cemetery Road
Wednesbury
West Midlands
WS10 8NA


The Cemetery is administered from the Willenhall Lawn Cemetery office. This office also holds all original records, but copies of the burial registers can be seen at [1] Walsall Local History Center.

Willenhall Lawn Cemetery
Bentley Lane
Willenhall
West Midlands
WV12 4AE
Photo of Plan of James Bridge Cemetery, Darlaston

Plan of James Bridge Cemetery, Darlaston.


Copyright 2010 - Nigel James Wright.

Click here to view.

Photo of Gravestone Steatham Relationship (GSR), James Bridge Cemetery, Darlaston

Gravestone Steatham Relationship (GSR),
for James Bridge Cemetery, Darlaston.


Copyright 2010 - Nigel James Wright.

Click here to view.


Steatham gravestones.




2 Moses Steatham's grave.

Copyright 2010 - Nigel James Wright.



#2) Moses Steatham (1841-1896) of the Cemetery Lodge, James Bridge, Darlaston, Staffordshire, Sexton, died on Sunday the 24th May 1896.

Probate was granted at London on the 25th July to Elizabeth Steatham, Widow, Effects £105 10s.

£105 10s. in today's money would be the equal to £15,600 - Calculated using this
Link.

In the Midland Advertiser Saturday June 6th 1896, at the Darlaston Urban District Council Meeting. A vote of Condolence was forwarded to the Widow and Family of the late Mr. Statham [sic] who had acted as Sexton for twenty-two years.

Moses was down as aged 55 in the 1891 Census, and his name was also stated as Moses G. Steatham.

Moses Steatham's gravestone reads as follows:-

/In/
/Loving memory of/
/Moses Steatham/
/Who entered into rest/
/May 24 1896/
/Aged 55 years/
/He rests from his labourers/
/Also of Elizabeth/
/Wife of the above/
/who entered into rest/
/Feb 7 1919/
/Aged 75 years/
/Thy will be done/
/Also of Elizabeth Smith/
/Daughter of the above/
/Who died July 16 1934/
/Aged 64 years/
/At rest/


To see its location in What3Words Click Here - Switch to Satellite view.







#3) Robert Steatham's grave.

Copyright 2010 - Nigel James Wright.







#3) Robert Steatham's grave reads as follows:-

/In Loving Memory/
/of/
/MY DEAR HUSBAND/
/ROBERT STEATHAM,/
/WHO DIED MAY 31st 1928,/
/AGED 65 YEARS./
/ALSO SARAH ANN,HIS BELOVED SISTER/
/WHO DIED JAN. 12th 1926,/
/AGED 66 YEARS./
/"O GOD OUR HELP IN AGES PAST."/

/ALSO OF MARY./
/BELOVED WIFE OF THE ABOVE,/
/WHO DIED AUG. 18th 1937/
/AGED 76 YEARS./


To see its location in What3Words Click Here - Switch to Satellite view.







4#) Edith Mary Steatham's (nee Standley) grave.

Copyright 2010 - Nigel James Wright.




#4) Edith Mary Steatham's (nee Standley) grave memorial is not now standing.

Edith, the Wife of George Steatham (1885-1918) , died at 22A Cross Street, Darlaston on Tuesday the 6th March 1956.

She was buried in plot N108 on Saturday the 10th March 1956, there are two other persons in the grave, but I am unable to determine who there are.

To see its location in What3Words Click Here - Switch to Satellite view.



#5) Elizabeth Steatham's grave.

Copyright 2010 - Nigel James Wright.



#5) Elizabeth Steatham's gravestone reads as follows:-

/Elizabeth Steatham/
/Who fell asleep in Christ/
/June 5th 1913/

/Also Sarah Steatham/
/Who Died Jan 12 1928 Aged 90 Years/

[On the side]

/Also Of/
/Thomas Steatham/
/Died March 4 1936/
/Aged 70 Years/
/Thy Will be Done/


To see its location in What3Words
Click Here - Switch to Satellite view.

This is a very interesting group which I have published much more information - See

Featured Person - Elizabeth Steatham et al.




#6) George Steatham's grave.

Copyright 2010 - Nigel James Wright.




#6) George Steatham's gravestone reads as follows:-

/31805 GUNNER/
/G. STEATHAM/
/ROYAL FIELD ARTILLERY/
/20TH MARCH 1918 AGE 32/


To see its location in What3Words
Click Here - Switch to Satellite view.

George Steatham (1885-1918) is a Featured Person to read more about him, and the campaign to get his gravestone corrected - See Featured Person - George Steatham.



#7) Moses Steatham's (1813-1891) grave.

Copyright 2010 - Nigel James Wright.



#7) Moses Steatham's (1813-1891) grave memorial is not now standing.

Moses was one of Robert Steatham's surviving Sons.

He was baptised on Sunday the 21st February 1813 at St Lawrence, Darlaston and married Elizabeth Griffiths (1815-1879) on Sunday the 18th January 1835, at St Matthews, Walsall.

Elizabeth died first and was buried on Tuesday the 3rd June 1879. Moses Steatham was the buried on Tuesday the 20th October 1891.

The photo was taken looking SW from the path into section E. From that vantage point, turning around clockwise to your right, is his son's Moses grave.

To see its location in What3Words Click Here - Switch to Satellite view.



7 Section plan E indicating Moses Steatham's (1813-1891) grave.

Copyright 2010 - Nigel James Wright.



Here is a copy of the grave plan for section E, with Moses Steatham's grave marked.


To view the Cemetery in GoogleEarth, open GoogleEarth and click the following link:-

GoogleEarth - James Bridge Cemetery, Darlaston, Walsall.


To see its location in What3Words Click Here - Switch to Satellite view.





#8) Samuel Steatham's (1815-1884) grave.

Copyright 2010 - Nigel James Wright.

#8) Samuel Steatham's (1815-1884) grave memorial is not now standing.

Samuel Steatham was one of Robert Steatham's) surviving Sons.

He was born 1815, and was baptised on Sunday the 26th March 1815, at St Lawrence, Darlaston, by the Rector Samuel Lowe M.A.

Samuel Steatham firstly married Elizabeth Skidmore, on Wednesday the 4th October 1843, at the Collegiate Church, Wolverhampton.

Elizabeth died in 1870, and was buried on Sunday 1st January 1871, in grave number L154.

Samuel Steatham them married Maria Farmer, at St Johns, Wolverhampton, on Friday the 7th November 1873. Maria died in 1878, and was buried on Saturday 12th October 1878, in grave number L154.

Samuel Steatham himself then dies on Monday the 5th May 1884, and he is buried on Friday the 9th May 1884, at James Bridge cemetery, Darlaston, joining his two wives in grave number L154.

There is a fourth person in the grave, this is Lucy Steatham (1872-1886). Lucy died in 1886, aged 14, at 15 Wolverhampton Road, Darlaston, and was buried on Saturday 10th July 1886, in grave number L154. Lucy was Samuel's grandaughter, by his son Joseph.

It is nice to think she was buried with her gandfather because she was a favourite of Samuels.

The photo was taken looking East into section L. From that vantage point, one can see Elizabeth Steatham's grave in the background.

To see its location in What3Words Click Here - Switch to Satellite view.







#8) Section plan L indicating Samuel Steatham's (1815-1884) grave.

Copyright 2010 - Nigel James Wright.

Here is a copy of the grave plan for section L, with Samuel Steatham's grave marked.

Note the four crosses (x) to indicate the number of persons in the grave.

To see its location in What3Words Click Here - Switch to Satellite view.

To view the Cemetery in GoogleEarth, open GoogleEarth and click the following link:-

GoogleEarth - James Bridge Cemetery, Darlaston, Walsall.



  The first entry for James Bridge cemetery for a Steatham, is in Book 1, page 41, where we have the burial of Thomas Steatham who was born 1862, he died in 1864 and was buried on Thursday the 10th November 1864 at James Bridge Cemetery, in grave D 17.

In the burial record he was stated as being the child of Mary Steatham, Spinster, aged 2 years, address given as Cock Street, Darlaston.

Thomas Steatham is in the Charles Steatham tree,


Click this link to read the story of Charles Steatham.



On a lighter note, we now see mentioned. [BNA]

Birmingham Daily Post - Thursday 12th July 1866

DARLASTON. MONSTER EGG.- On Tuesday morning a duck belonging to Mr. William Fall, keeper of the James Bridge crossing, Darlaston, laid an egg weighing 6 1/2 ounces. Its circumference round the middle is 9 1/4 inches; the curcumference lengthwise is 11 1/4 inches. The egg is to be seen at Mr. Fall's residence.

Not strictly to do with the cemetery but to do with the bridge, still standing by it, just six years after the cemetery opened.


Steatham.com    All Rights Reserved.